1.操作说明
1.1物料档案管理
1.1.1新建物料
主数据管理>物料档案管理,进入『物料搜索』页面。
点击【搜索】,进入『物料列表』页面,输入不同查询条件后点击【查询】,物料列表将刷新并显示对应的物料。
【查看BOM信息】内,可以维护对应物料BOM,且支持暂存功能,只有在编辑状态下,可以看到暂存的BOM内容。
点击【新建物料】可以选择“参考物料”/“参考模板”方式新建物料。
参考物料:选择一个相似的物料,系统将把该物料的字段带出来修改。参考模板:可以提前定义好物料的模板,后期可直接引用该模板快速录入物料信息。(如需要增删改模板,请联系慧工云老师进行修订)
对于“参考物料”创建物料的方式,可以通过如下三种方式进行下一个物料
- ”参考物料“:创建这个物料,同时以参考物料为模板继续下一个物料的创建;
- “即将新建的物料”:创建这个物料,同时以页面上的该物料的相关参数创建下一个物料。相当于以界面上准备创建的物料为模板;
- “无参考”:创建这个物料,同时页面上回来没有参考物料的界面。
可以通过下载导入模板,填写物料信息后进行批量导入,支持对已有地物料主数据进行更新:
部分常见的物料维护项介绍如下:
1.1.1.1基础信息视图
发料类型:(维护物料主数据的正冲/倒冲类型,默认值与租户的配置有关)
- 正冲:在仓库发料时,正冲的物料将直接发料到工单,库存不体现在生产仓;
- 倒冲:在仓库发料时,倒冲的物料将发料到生产仓。在工单完工时将触发工单物料的倒冲;
- 看板倒冲:主要用于物料不走工单领料场景(其他领料场景),库存消耗采用倒扣形式。
计量单位组:(物料主计量单位、采购单位所在的单位组,存在2种类别)
1.固定换算类计量单位组:主计量单位与采购单位之间存在换算关系,该换算关系需在计量单位组内进行维护。采购单位将用于采购管理模块中,采购人员进行采购物料时所使用的单位。
2.无换算类计量单位组:主计量单位与采购单位保持为同一单位。
物料生产模式包括常规、按单拣货、按单装配三种类型。
1.1.1.2MRP-1信息视图
MRP 控制者:负责物料的物料计划的采购员或计划员。
MRP 类型:确定物料是否参与 MRP 运行
物料需求计划:MRP ,参与需求和供应的平衡
项目需求计划:在 MRP 的基础上,对于需求和供应有项目属性,对于项目型的供应只能满足项目型需求。
- 重订购点需求: ROP,通过简单的库存低于维护的订购点数量进行触发采购
- 无计划:不运行 MRP ,如果在 BOM 的中间分支,在该 BOM 分支中,不会产生下支物料的需求。
物料来源:
- 自制:对于内部生产的物料,选择自制。在 MRP 运行时,将对于自制的物料,产生生产需求;
- 采购:对于需要向供应商采购的物料,选择采购。将在 MRP 运行时,将需要采购的物料,产生采购需求;
- 甲供:对于甲方客户供给的物料,选择甲供;甲供物料将在 MRP 运行时,不产生需求;
- 外协:对于维护的外协件,是指生产需要外协。
虚拟采购类型:在采购类型的基础上根据特殊业务设定的值。确定物料是直接采购还是外协采购或者为虚拟件。
- 按需批量:按 MRP 计算的需求结果;
- 固定批量:按照固定批量的数量合并,无法合并的数量回滚到下一个需求;
- 补充到最大库存:按照最大库存数量合并,无法合并的数量回滚到下一个需求;
- 按日合并:按照日合并需求数量;
- 按周合并:按照周的所有需求数量合并;
- 按月合并:按照月的所有需求数量合并。
装配报废百分比:若物料是一个装配品,则出现在物料生产中的废品百分比。(一般针对完成品)
批量:确定在物料计划中使用哪个批量形式来采购物料。
1.1.1.3MRP-2 信息视图
计划策略组:MRP 运行根据此字段选择计划策略;
可用性检查组:在可用性检查时,按照不同的组来定义检查规则;
外购收货库存地点:对于物料采购入库默认的入库库存地点,采购退货默认的出库的库存地点;
外销发货库存地点:对于物料的销售发运默认出库的库存地点,销售发运默认退回的库存地点;
自制发货库存地点:对于物料在工单发料时,默认出库的库存地点,默认退回的库存地点;
自制收货库存地点:对于自制件产品默认的完工入库库存地点,默认完工入库退回的库存地点。
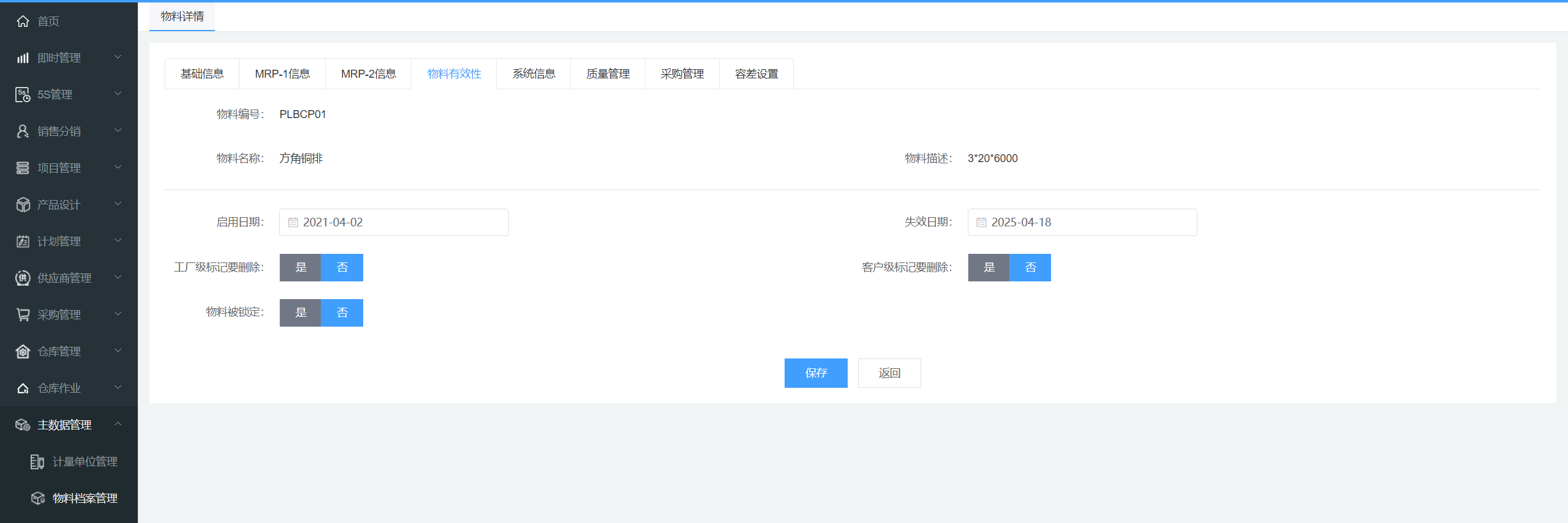
1.1.1.4物料有效性
『物料有效性视图』中主要包括物料启用日期,失效日期,工程标记要删除,客户标记要删除,物料被锁定等物料信息。
1.1.1.5系统信息视图
『系统信息视图』中可查看当前物料的主要信息,包括物料编号,物料名称,物料描述等物料信息,以及物料的修改更新记录,如创建日期,创建人,最近修改日期及最近修改人。
1.1.1.6质量管理视图
『质量管理视图』主要负责维护该物料对应质检流程,包括是否需要质量,支持维护检验计划。
1.1.1.7采购管理视图
采购管理视图中可配置负责采购当前物料的采购组。可将采购部门成员按组划分,在采购活动中自动指派对应下单的采购组进行采购。
1.1.1.8容差设置视图
主数据管理 > 物料档案管理 > 物料详情 『容差设置』视图中,支持设置订单交货数量的上下限,用户可配置该物料允许无限制的过量交货,也可设定一定范围的交货数量限制,范围的录入以百分值的形式进行录入。
用户可通过容差设置定义物料交货过程的一定容差范围,灵活地支持了计划采购与实际到货之间的数量偏差。
系统默认状态下,【允许无限制过量交货】默认为“否”,
超量交货容差限制和不足交货容差限制默认为空,默认不影响现有客户的出入库操作。需要设置物料的交货容差范围时,设定后【保存】设置。
- 设定物料可无限制的过量交货时:点击按钮【允许无限制的过量交货】,将按钮切换至“是”,此时,该物料可进行交货的数量将不再受限制。
- 设定一定范围的交货数量限制:需先【允许无限制的过量交货】按钮切换至“否”,再输入
超量交货容差限制的百分比数值,不足交货容差限制的百分比数值。
假定有一笔订单,此物料的采购数量为100(个)时,按上图设定,该物料最多允许超10%的订单数量即110(个)进行交货,且交货量最少不得少于2%即98(个),即此物料交货容差的允许范围为:[110,98]。
在设置物料的容差范围后,新建采购订单时,在选择相应的物料后,将默认带出物料的容差设置并支持修改,修改后的容差范围仅应用于当前订单,不会改变物料本身的容差设置。相同的物料在向不同的供应商进行采购时,可有不同的交货容差范围,更灵活的支持实际交货场景。
设置了容差的订单在建到货单或进行入库时,在录入数量时,将自动提示订单的交货容差范围。
在进行入库时,实际入库的数量将影响入库行的完成状态,默认数量达到交货允许的容差范围时,收货完成标识将勾选,完成入库作业。
1.1.2物料查询
主数据管理>物料档案管理,点击【查询】,将进入『物料列表』,默认列表不包括成品物料和虚拟件物料。取消勾选【过滤成品/虚拟件】后再次进行【查询】,列表将刷新并展示成品和虚拟件。
点击对应物料的【编辑】,可以查看该物料的详细信息。
1.1.3物料信息更新
点击【编辑】,可以对物料的信息进行更新。
通过批量导出物料、批量导入物料,可以对物料进行批量更新。
1.1.4物料 BOM 管理
点击【查看 BOM 信息】,可以对物料的 BOM 进行查看和编辑。
点击【编辑】可以对物料 BOM 进行导入导出维护。
主数据管理>物料档案管理,『物料列表』点击【查看 BOM 信息】以将物料 BOM 的全部或者部分勾选,新建模板模板,从而在 BOM 维护时,可以快速便捷的进行维护。
1.1.5 BOM模板列表
1、显示信息
本页面中可自定义BOM模板,BOM模板可以在后续的成品、半成品物料编辑BOM时引用。便于快速编辑BOM。
2、操作按钮
【新增】新增一个BOM模板。
【删除】可删除多个勾选的BOM模板。在模板信息列表最右边的【删除】操作可以删除单个BOM模板。
【查看】可查看模板中的详细信息。
【管理BOM分组】在『 BOM 分组管理』中默认有“电气 BOM ”、“铜牌 BOM ”、“结构 BOM ”三个分组,可以【编辑】或者【停用】;可以【新增分组】,新增后默认启用。
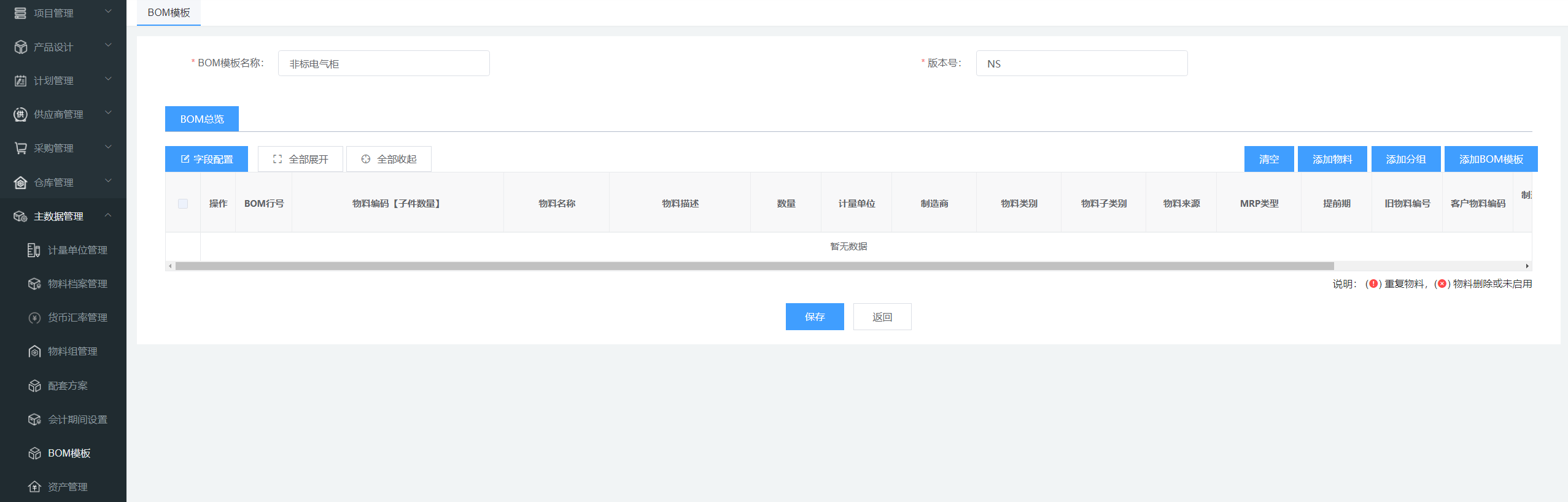
1.1.6 新增BOM模板
3、显示信息
本页显示了BOM模板的名称,版本号,以及BOM模板中的详细内容,含分组、物料信息等。
4、操作按钮
【清空】若BOM模板中已有内容,如分组、物料等,点击此按钮可以清空内容。
【添加物料】在BOM模板中添加物料。查询物料,勾选左侧的勾选框,将勾选到的物料加入到BOM模板中。可勾选多个。
【添加分组】添加分组,可以将BOM分组。后续更新模板时,可以单独更新某个分组中的物料,而不影响其它分组中的物料,以保障多个岗位在更新BOM时互不影响。如下图是一个典型的分组案例。
【添加BOM模板】当系统种已有BOM模板时,新增BOM模板时可以引用已有BOM模板,将选中模板中的内容自动带入新BOM模板中。
【保存】保存编辑后的BOM模板。
1.1.7 查看/编辑BOM模板
1、显示信息
本页显示了BOM模板中的详细内容,含名称,版本号,以及分组、物料信息等。
在本页中可以查看BOM的总览信息,并且根据分组分开查看组内的BOM信息。
可以选择BOM总览或者分组中的一部分物料内容另存为一个新的模板,也可以在此页导入、导出BOM信息。
可以切换查阅的模式,通过树形结构查看或者查看物料列表。可在BOM总览、电气、铜排、其它自定义分组间通过鼠标点击以切换查看不同的分组下的BOM内容。
2、操作按钮
【保存为BOM模板】在查看总览或者分组下的BOM时,可勾选其中的一部分物料保存为另一个模板。
【导出BOM】在查看查看总览或者分组下的BOM时,可以导出对应分组BOM中的物料。
【导入BOM】可以通过Excel批量导入物料到BOM模板中。
导入时有两种选项:【直接导入】可以往BOM模板中导入物料,并可以同时往多个组中导入物料。【选择分组导入】单选或者多选分组之后,可以单独更新对应分组的BOM;其它未勾选的分组则无法导入。
【编辑】可以编辑BOM模板,新增、修改、删除BOM模板中的分组,添加BOM模板。编辑之后可以与原稿比对。
1.2货币汇率管理
主数据管理>货币汇率管理,货币汇率管理主要面向有对外贸易的公司,在销售和采购时,可以通过汇率进行本币和外币的管理。原币币种在租户期初上线时,配置好。后续如有新增,可以联系慧工云老师进行新增(目前,暂不支持界面新增)。对于已有币种汇率有变动可以点击【编辑】调整。
1.3物料组管理
主数据管理>物料组管理,物料组是物料编辑在各个其他模块灵活应用的标签。维护了物料组,同时对于不同物料组的相关应用进行维护。『物料组-仓库』主要应用于仓库管理模块,『物料组-质量』主要服务于质量管理模块,『物料组-生产』主要用于新增物料组,『物料组-仓库作业』主要用于仓库作业模块,『物料类别』主要可配置物料的分类信息,具体配置可查看如下内容。
1.3.1物料组-仓库
进入主数据管理>物料组管理『物料组-仓库』页,点击【新增】可以添加物料组仓库,同时支持对已有物料组可进行【修改】和【删除】。
维护物料组的参数,如
外购收货库存地点,外销发货库存地点,自制发货库存地点,自制收货库存地点,发料类型时,只有在物料不维护的情况下,物料组的配置才会生效。
点击【修改】,可对该物料组的字段进行编辑更新。
1.3.2物料组-质量
进入主数据管理>物料组管理『物料组-质量』页,可通过物料组名称、创建人字段进行【查询】相应物料组。点击【新增】添加物料组,并配置该物料组是否需要进行质检。
在物料主数据中将物料绑定相应的物料组,物料的检验类型将更新为该物料组的检验类型。
点击【编辑】可以进行编辑。查看检验计划查看绑定的物料检验计划。
点击【查看检验计划】进入『检验计划详情』页面可以查看对应的检验计划模板,并支持【编辑】和【维护适用范围】。
1.3.3物料组-生产
主数据管理>物料组管理,『物料组-生产』点击【新增】进行新建物料组,点击【编辑】可维护相应物料组的字段:物料组名称及描述,生产中不同生产策略的维护。
点击【详情】进入『物料组-生产详情』页可查看关联到该物料组下的物料,并支持从该物料组进行【删除物料】或者往该组内【添加物料】。
1.3.4物料组-仓库作业
主数据管理>物料组管理,『物料组-仓库作业』支持通过点击【新增】进行新建物料组,也可通过上传方式【批量导入】物料组。同时可以点击【导出 Excel】将仓库作业类的物料组进行导出并生成excel文件。
1.3.5 物料类别
主数据管理 > 物料组管理『物料类别』中可维护物料的类别及子类别,维护物料时,可选取维护后的类别将物料进行分类。在这里页面可以操作对应类别是否停用,停用的物料类别和物料子类别,在其他模块无法查到。
1.3.5.1 物料类别
主数据管理 > 物料组管理 『类别』tab下,点击【新增分类】进行新建物料类别,标*的字段为必填字段,序号、名称及编码字段。
允许通过【编辑】修改物料类别的信息,编码在新增后将不允许进行修改。当物料类别作废时,允许【停用】对应的物料类别。
1.3.5.2 物料子类别
主数据管理 > 物料组管理 『子类别』tab下,点击【新增分类】进行新建物料的子类别,标*的字段为必填字段,序号、名称及编码字段。可以维护对应物料子类别的物料为服务类物料。
允许通过【编辑】修改物料子类别的信息,编码在新增后将不允许进行修改。当物料类别作废时,允许【停用】对应的物料子类别。
是否服务类字段,用于标识是否是服务性质的类别,服务性质的物料如维修、物流等。
确认是否为服务类物料设置后,随意变更属性容易引发数据异常,导致无法正常进行出入库操作!如果出现错误,请联系管理人员!
1.4 资产管理
1.4.1 资产管理
主数据管理>资产管理,『资产管理』支持通过输入资产类别、资产名称查询条件及选择启用状态进行【查询】对应的资产。点击【详情】可查看资产详情,并支持对资产信息进行【编辑】修改。
点击【新增资产】,填写各项信息后可【新建】资产。
通过点击【导出】、【导入】可下载模板并进行批量导出/导入操作。
1.4.2 分组管理
主数据管理>分组管理,『分组管理』支持通过【新增分组】新新建资产分组,点击【详情】可查看分组详情,并支持对分组信息进行【编辑】及【删除】操作。
1.4.3 设备管理
主数据管理>设备管理,『设备管理』点击【查看】可进入『设备详情』页查看设备具体信息,并支持【修改】设备信息。点击【导入设备】并下载填写模板后上传表格将批量导入设备操作。【导出设备】则支持对设备信息进行批量导出操作,生成的excel表格支持下载。
点击【新增设备】可进入『设备新建』页,完成相应的信息填写后点击【新建设备】系统将新增一条设备信息。
点击【扩展字段】进入配置拓展字段页面,新增的字段将展示在『设备新建』、『设备编辑』及『设备详情』页。
1.4.4 模具管理
主数据管理>模具管理,『模具管理』【新增模具】支持单个地新增模具,可根据【查看】及【修改】对已有的模具信息进行查看/编辑更新。
【导出模具】、【导入模具】支持批量地导入/导出模具信息,同时支持自定义配置【扩展字段】。
1.5 区域管理
主数据管理>区域管理,『区域管理』呈现区域列表,可输入区域名称、是否启用查询条件进行【查询】。
支持查看已有区域【详情】,并对区域信息进行【编辑】更新。
支持【新建区域】,填写区域编号、区域名称及描述字段后点击【新建】完成区域的新增。
1.5.1 基础信息
主数据管理>区域管理,点击【编辑】,进入『区域编辑』页,可在『基础信息』栏下维护区域编号、区域名称、描述等字段信息,点击是否启用选项后进行【保存】。
1.5.2 全员生产维护
主数据管理>区域管理,在『区域编辑』页『全员生产维护』栏下,点选是否是根节点、是否在当前模块中运用选项,输入区域别名后点击【保存】。
根节点:最高的父级节点。
1.5.3 5s 管理
主数据管理>区域管理,在『区域编辑』页『5s 管理』栏下,点选是否在当前模块中运用,并输入分类、区域、负责人及相关部门相应信息,点击【保存】。
1.6 计量单位管理
主数据管理>计量单位管理 支持对多计量单位的管理,用户可自定义多种计量单位,并可在计量单位组内维护计量单位之间的换算关系。同时支持在『显示配置』中配置使用单位的小数位去零显示。
1.6.1 计量单位
主数据管理 > 计量单位管理 > 计量单位 支持的操作包括有【查询】、【新增计量单位】、【编辑】、【启用】/【禁用】及【导入/导出计量单位】。
1 【查询】:用户可以通过输入/选择查询条件后进行检索,点击【查询】后『计量单位列表』将刷新并展示检索结果,方便用户快速检索计量单位信息。
查询条件:
计量单位编码.计量单位名称.量纲.计量单位组编码.计量单位组名称.使用状态。
2 【新增计量单位】:使用多单位之前,用户需先自定义计量单位。点击【新增计量单位】进入『新建计量单位』页面进行维护,支持创建不同量纲下的计量单位,无特殊情况,建议创建"无量纲"的计量单位。
必填项:
计量单位编码,计量单位名称,量纲,符号及舍入小数位数。其中,计量单位编码支持输入中文。
量纲包括:体积,发光强度,实际,温度,物质的量,电流。创建有量纲的单位时,需维护新建单位与SI单位(量纲下的基准单位)之间的换算公式。必填项包括:
分子,分母,指数及常数。
3 【编辑】计量单位:支持用户对系统中已有的计量单位进行信息更新。点击【编辑】进入『编辑计量单位』页进行编辑更新,需注意 计量单位编码 和 量纲 不支持修改更新。
注:
①
舍入小数位数和显示小数位数需修改为大于当前值不大于8的正整数。②
显示小数位数不可小于舍入小数位数。
4 【启用】/【禁用】计量单位:企业可以根据实际业务【启用】/【禁用】计量单位来调整计量单位的使用情况,单位的 使用状态 列标识了该单位当前的状态。被【禁用】的计量单位在各个单位组内均不可被使用,同时在物料页面维护单位信息时,将不会出现在下拉列表中。
5 【导入/导出计量单位】:当需要批量新增单位时,可通过点击【导入计量单位】后下载计量单位导入模板,根据说明填写导入模板后进行上传。当需要查看系统已有的计量单位信息时,可进行【导出计量单位】操作。
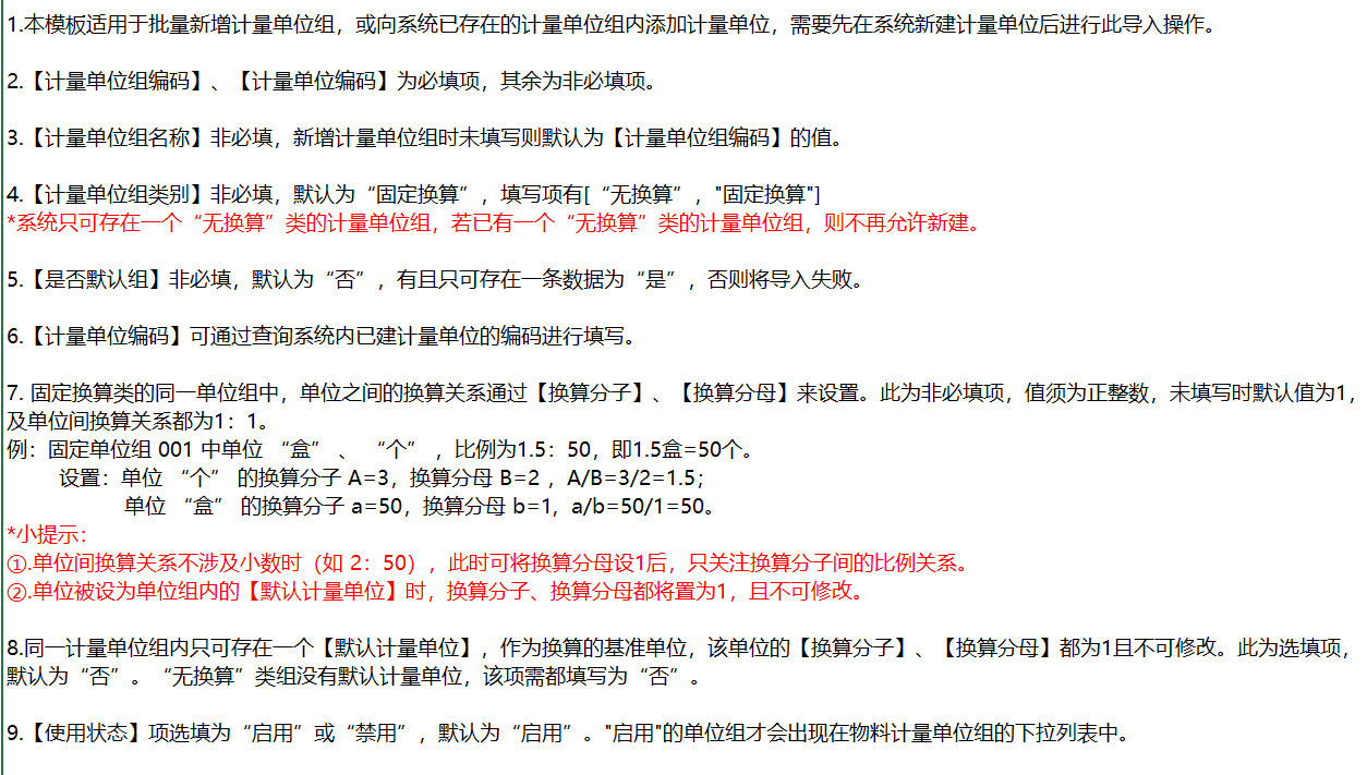
导入说明:
1.6.2 计量单位组
主数据管理 > 计量单位管理 > 计量单位组 用户可以新建“无换算”或“固定换算”类别的计量单位组后,将系统的计量单位添加进组内,并可定义多计量单位之间的换算关系,从而实现业务场景中多单位转换功能。对计量单位组的操作包括有【查询】、【新增计量单位组】、【编辑】、【管理计量单位】、及【导入/导出计量单位组】。
1【查询】:用户可以通过输入/选择查询条件后进行检索,点击【查询】后『计量单位组列表』将刷新并展示检索结果,方便用户快速检索到计量单位组后进行查阅/维护。
查询条件:
计量单位组编码,计量单位组名称,计量单位组类别,是否默认组,启用状态。
2 【新增计量单位组】:点击【新增计量单位组】进行新建,计量单位组编码 和 计量单位名称 都不可重复命名,支持新增的 计量单位组类别 有 “无换算” 和 “固定换算” 两种类别。
【设为默认组】:用户每次新建计量单位时,可以勾选确认将新建的单位添加进该计量单位组内。
支持【启用/停用】计量单位组,停用后的单位组将不会被物料选用到。
注:① “无换算”类计量单位组只可存在1个,再次新建”无换算“计量单位组时系统将提醒用户不可新建。
②“无换算”类:计量单位组内的单位不支持定义换算关系,用户可将其做为单位通用组使用。
③“固定换算”类:可定义组内计量单位的换算关系,采购人员可选用组内任一单位作为采购单位。
3 【编辑】计量单位组:支持用户对系统中已有的计量单位组进行编辑。点击【编辑】后进行信息更新,需注意 计量单位组编码 不再支持修改更新。
4 【管理计量单位】:点击进入『管理计量单位』,用户可以向当前计量单位组内【添加】计量单位,并通过设置换算分子 , 换算分母 的数值来定义计量单位之间的换算关系。 默认计量单位 代表的是组内换算关系的基准单位,切换为 默认计量单位 的单位,换算分子 , 换算分母 都将置为1。
单位之间换算关系的配置实例:
如:固定换算计量单位组中,存在计量单位 “盒” 、 “个” ,比例为1.5:50,即1.5盒=50个。 设置:单位 “个” 的换算分子 A=3,换算分母 B=2 ,A/B=3/2=1.5; 单位 “盒” 的换算分子 a=50,换算分母 b=1, a/b=50/1=50。
提示: ①单位间换算关系不涉及小数时(如 2:50),此时可将换算分母设1后,只关注换算分子间的比例关系。 ②单位被设为单位组内的【默认计量单位】时,换算分子、换算分母都将置为1,且不可修改。
同时,企业结合实际情况不再需要使用的单位,支持在计量单位组内进行【停用】/【移除】操作。
注:在单位组内被【停用】的计量单位,在其他组的使用将不会受到影响。
5 【导入/导出计量单位组】:当需要进行批量新建计量单位组、向已有的计量单位组内批量添加单位时,可通过【导入计量单位组】实现,通过点击【导入计量单位组】后下载计量单位组导入模板,根据说明填写完善导入模板后上传excel。同时系统也支持【导出计量单位组】操作。
导入说明:
在单位组内完成添加计量单位后,可进入主数据管理 > 物料档案管理 『新建物料』/『编辑物料』页,配置物料上的计量单位。用户先选取计量单位组,再选取组内的单位作为物料的主计量单位及 采购单位。当选取的计量单位组为”固定换算”类别时,物料的 主计量单位及 采购单位可配置为该组内不同的单位。
1.6.3 显示配置
主数据管理 > 计量单位管理 > 显示配置 可配置去零显示页面,可选择页面中不显示小数尾的零。在『显示配置』下勾选需要去零显示的模块,相应的模块页面中,数值小数末尾的零将被隐藏,未勾选的模块页面将按照显示小数位数进行显示。
如:单位"个"的显示小数位为4,实际显示时,可不显示末尾多余的零位,去零显示效果如下:
1.7 会计期间设置
对于财务人员,在开始使用财务系统之前,需要初始化存货核算的会计期间。
1.7.1 新增会计期间
主数据管理 > 会计期间设置 需要创建新的财年时,目前支持通过导入的方式新增会计期间。
点击【增加会计年度】后在弹窗页面,输入财年名称,点击【导入数据】下载excel导入模板。
请仔细阅读本说明后进行数据导入
- 本模板适用于批量导入会计期间,系统只读取第二页。
- 模板中所有列均为必填项,请勿漏填。
- 【期间类型】请选择下拉选项提供的选项值填写。
- 【期间编号】请填写文本。
- 【年份】为会计期间结束日期年份与财年的偏移量,请填写文本(例:财年:2021,会计期间结束日期:2022.01.31,年份:+1)。
- 【财年】【开始月份】【开始日期】【结束月份】【结束日期】请填写整数。
- 请至少输入一条记账期间。
- 留意当前财年是否闰年,并确认2月份的结束日期。
- 注意:请按时间顺序填写记账期间,各记账期间之间需是连续不间断的,已存在财年时,填写的财年需和上一年连续,开始日期和上一年结束日期连续。
导入excel示例:
| 财年 | 期间类型 | 期间编号 | 年份 | 开始月份 | 开始日期 | 结束月份 | 结束日期 |
|---|---|---|---|---|---|---|---|
| 2021 | 记账期间 | 1 | 0 | 1 | 1 | 1 | 31 |
| 2021 | 记账期间 | 2 | 0 | 2 | 1 | 2 | 28 |
| 2021 | 记账期间 | 3 | 0 | 3 | 1 | 3 | 31 |
| 2021 | 记账期间 | 4 | 0 | 4 | 1 | 4 | 30 |
| 2021 | 记账期间 | 5 | 0 | 5 | 1 | 5 | 31 |
| 2021 | 记账期间 | 6 | 0 | 6 | 1 | 6 | 30 |
| 2021 | 记账期间 | 7 | 0 | 7 | 1 | 7 | 31 |
| 2021 | 记账期间 | 8 | 0 | 8 | 1 | 8 | 31 |
| 2021 | 记账期间 | 9 | 0 | 9 | 1 | 9 | 30 |
| 2021 | 记账期间 | 10 | 0 | 10 | 1 | 10 | 31 |
| 2021 | 记账期间 | 11 | 0 | 11 | 1 | 11 | 30 |
| 2021 | 记账期间 | 12 | 0 | 12 | 1 | 12 | 31 |
| 2021 | 特殊期间 | 13 | 1 | 1 | 1 | 1 | 31 |
上传已编辑好的 excel 后留意检查,会计期间的起止日期必须是连续的,若不连续时,可进行修改结束月份,结束日期,此时开始月份及开始日期也将自动获取前一期结束日期的后一天。
1.7.2 编辑/删除会计期间
主数据管理 > 会计期间设置 新建的会计期间若有误,可重新编辑/删除会计期间,只有在在正式记账之前才允许修改或删除会计期间。
点击【编辑会计期间】进入编辑页面进行修改,修改时,允许修改会计期间的财年名称,结束月份,结束日期。
1.7.3 记账
当会计期间创建后,在平台协助下将期初数据导入系统,初始化财务系统后,财务人员可以进行【开放/关闭记账】业务。
开放记账的会计期间允许该期间的出入库操作,所有的出入库记录将生成对应的成本凭证,财务可在根据凭证进行存货核算。
1.7.4 结账
当财务人员完成当前期间的记账工作后,可进行【结账】,并开始下一期的记账业务。
1.7.5 同步
对于使用多系统的用户,平台提供【同步】功能,允许在完成记账工作后,将期间的出入库、发票等业务数据同步至其他平台。
1.7.6 暂停出入库
每月底财务结账,需要停止仓库的任何出入库操作,避免新的出入库数据进入系统,到月初开账后,可进行操作。目前在系统外管理,无法做到严格的控制,造成财务工作上的困扰。通过【暂停/恢复出入库】可以限制仓库的作业.
1.7.7 操作记录
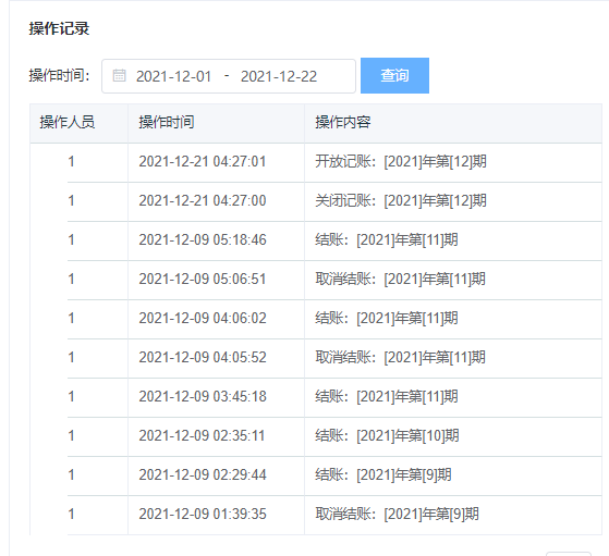
支持查看操作人员,操作时间,操作内容,查看历史的操作记录,通过操作时间筛选查询固定时间段的操作记录。
1.8 BOM管理
主数据管理 > BOM管理 BOM管理,作为IN3系统集中处理与BOM主数据相关内容的模块,支持维护物料制造BOM和工程BOM,且分别支持维护多个版本的BOM。
1.8.1 制造BOM
主数据管理 > BOM管理 在『制造BOM』内,可以根据BOM编码、物料编码、物料类别、物料子类别、创建人、更新人、更新日期『查询』对应物料制造BOM。可以通过【批量导入物料BOM】来批量导入物料制造BOM,但要遵循先批量导入子件BOM,在批量导入母件BOM。可以通过【批量导出物料BOM】来将已维护的物料默认制造BOM导出到Excel。也可以通过【字段配置】调整列表显示字段内容。
主数据管理 > BOM管理 在『制造BOM』内,可以通过【新建物料BOM】来为物料单独维护制造BOM,需要选择母件物料,会带出对应的物料名称、物料描述、物料类别、物料子类别以及旧物料编码。也支持维护物料子件,通过【清空】【添加物料】【添加子物料】【添加分组】【添加BOM模板】来维护物料BOM,并在首次维护物料BOM后【创建新版本】。
主数据管理 > BOM管理 在『制造BOM』详情界面切换【BOM版本号】来查看历史版本的制造BOM。也可以通过点击【废弃BOM版本】将该制造BOM废弃掉,废弃的BOM版本无法在BOM管理找到,但历史引用该版本BOM的数据不会受影响。
1.8.2 工程BOM
主数据管理 > BOM管理 在『工程BOM』内,可以根据BOM编码、物料编码、物料类别、物料子类别、创建人、更新人、更新日期『查询』对应物料制造BOM。可以通过【批量导入物料BOM】来批量导入物料制造BOM,但要遵循先批量导入子件BOM,在批量导入母件BOM。可以通过【批量导出物料BOM】来将已维护的物料默认制造BOM导出到Excel。也可以通过【字段配置】调整列表显示字段内容。
主数据管理 > BOM管理 在『工程BOM』内,可以通过【新建物料BOM】来为物料单独维护制造BOM,需要选择母件物料,会带出对应的物料名称、物料描述、物料类别、物料子类别以及旧物料编码。也支持维护物料子件,通过【清空】【添加物料】【添加子物料】【添加分组】【添加BOM模板】来维护物料BOM,并在首次维护物料BOM后【创建新版本】。
主数据管理 > BOM管理 在『工程BOM』详情界面切换【BOM版本号】来查看历史版本的制造BOM。也可以通过点击【废弃BOM版本】将该制造BOM废弃掉,废弃的BOM版本无法在BOM管理找到,但历史引用该版本BOM的数据不会受影响。
1.9 扩展自定义项
主数据管理 > 扩展自定义项管理 方便了用户灵活的自行配置所需的扩展字段,在实际业务中备注相关信息,还可以将信息传达到后续的业务中。用户可以根据公司业务的特殊性,在合同信息,采购申请单,采购订单,到货单,采购入库单,以及送检单基础性信息上灵活的自行配置所需的扩展字段信息,让单据可以适应更多的业务场景。
用户可在『扩展自定义项』页中定义所需的扩展字段,切换到『表体项』『表头项』分页则能够配置扩展字段应用的模块、单据头或是单据体,还可以设置扩展字段的输入配置。应用到单据中的拓展字段,同时可应用到导入、导出及打印单据时,以便客户线下进行查看分析。
打印需要开发配置,如需打印功能,请提供打印模板。
1.9.1 扩展自定义项
主数据管理 > 扩展自定义项管理 『扩展自定义项』页中可查询、新增、编辑扩展自定义项。
注:
数据类型选取为"文本"时,需配置文本最大长度,可输入[1,9999] 范围内的正整数;
数据类型选取为"数字"时,需配置小数位数,可输入[0,8] 范围内的正整数。
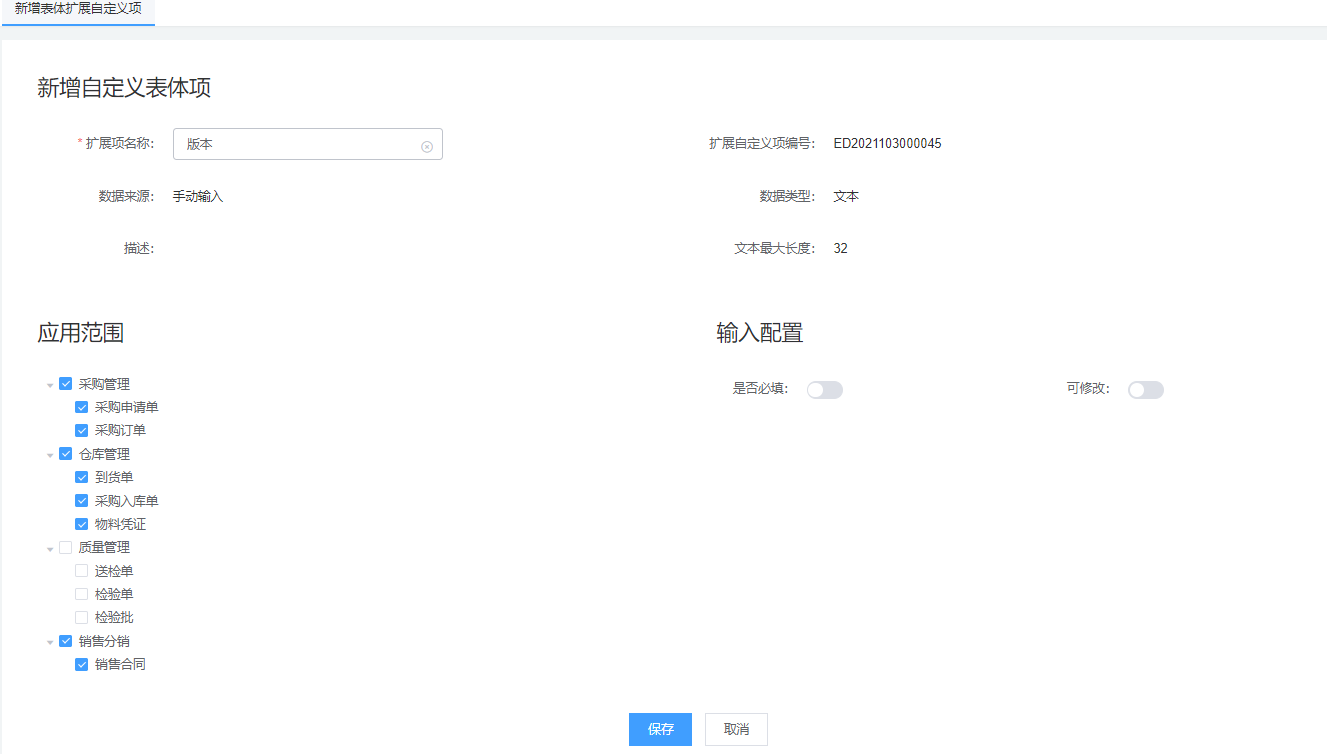
1.9.2 表体项
『表体项』分页能够配置扩展字段应用到的模块,需要配置到需要显示的单据体,包括可以设置扩展字段的输入配置,如是否必填、是否可修改。
主数据管理 > 扩展自定义项管理 『表体项』页面支持查询、新增、编辑、停用表体扩展项。
新增表体扩展自定义项:在表体扩展项名称输入已创建的扩展自定义项名称或者编号后选择模糊查询的结果,扩展自定义项的其余信息将自动带出。
配置应用范围:通过勾选对应的单据可将该字段添加到单据的表体列中。
输入配置:
是否必填指该扩展字段是否是必填字段,默认配置为“否”;可修改指的是上游单据输入的信息到达下游单据时,是否可对该信息进行编辑修改,默认配置为“否”;
编辑表体扩展自定义项:可对应用范围及输入配置进行编辑修改。
停用表体扩展自定义项:当各个业务模块中不再需要该扩展字段时,可将其进行【停用】。
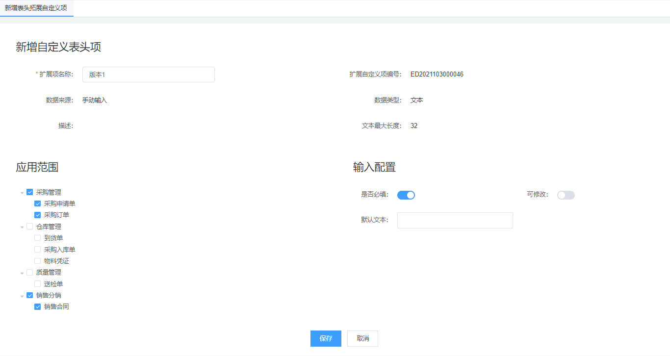
1.9.3 表头项
『表头项』分页能够配置扩展字段应用到的模块,需要配置到需要显示的单据头,包括可以设置扩展字段的输入配置,如是否必填、是否可修改、默认文本。
主数据管理 > 扩展自定义项管理 『表头项』页面支持查询、新增、编辑、停用表头扩展项。
新增表头项:
在表头扩展项名称输入已创建的扩展自定义项名称或者编号后选择模糊查询的结果,扩展自定义项的其余信息将自动带出。
配置应用范围:通过勾选对应的单据可将该字段添加到单据头中。
输入配置:
是否必填指该扩展字段是否是必填字段,默认配置为“否”;可修改指的是上游单据输入的信息到达下游单据时,是否可对该信息进行编辑修改,默认配置为“否”;默认文本指该扩展字段的默认显示文本,将在首次使用时带出默认文本。
编辑表头扩展自定义项:可对应用范围及输入配置进行编辑修改。
停用表头扩展自定义项:当各个业务模块中不再需要该扩展字段时,可将其进行【停用】。
2.0 配置中心
『拓展字段』主要是为了用户自主灵活地拓展物料的属性,最多支持20个自定义拓展字段,拓展字段支持文本和选项,并支持查询。
当用户在物料上添加了自定义字段信息后,若配置了支持查询,可在系统中查询物料跳出的弹窗上便可以使用该字段进行快速查找。
特别说明
主数据的维护对于运营管理平台的使用非常关键,所以需要定期对于主数据进行检查更新和清理。
注:以上数据均属测试数据。






































































































